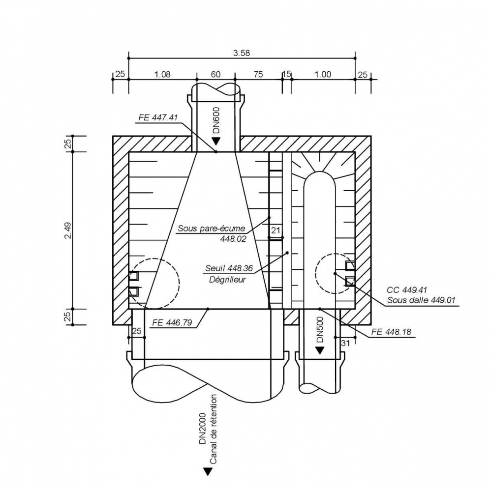
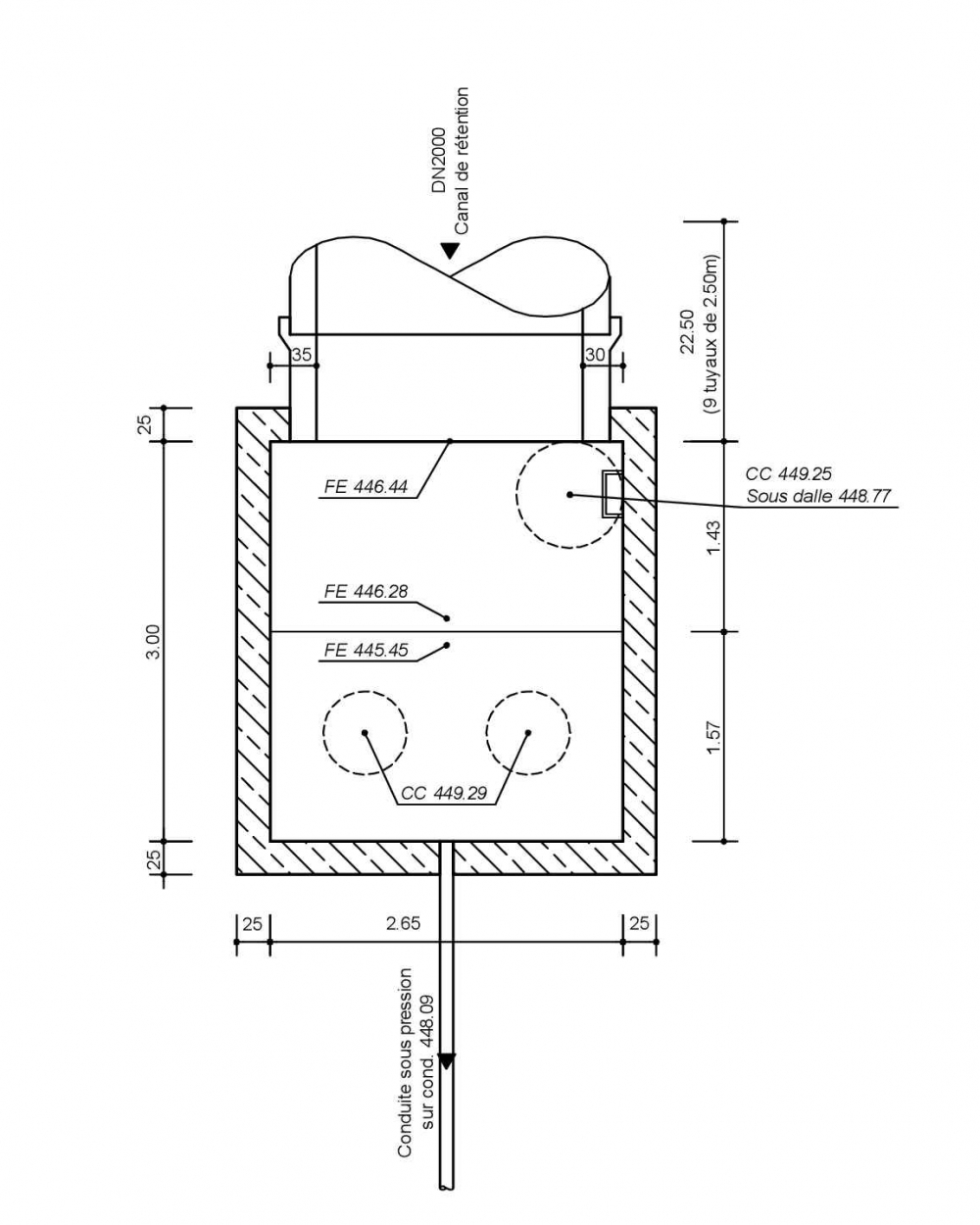
RÜB Holler

Regenüberlaufbecken mit Pumpwerk von Holler

Lageplan im PDF-Format